Мы используем cookie для наилучшего представления нашего сайта. Подробнее об этом в Политике конфиденциальности.
Ок

Сочи

Ваш город:
Сочи (Краснодарский край)?
Нет
Да
Каталог
Каталог Написать в WhatsApp
Мотоэкипировка

Пластина фиксации поворота мотора 2-Х ТАКТНОГО ПЛМ MERCURY 90 Серийный номер от 0A996142 до 0B240450

Пластина фиксации поворота мотора 2-Х ТАКТНОГО ПЛМ MERCURY 90 Серийный номер от 0A996142 до 0B240450 в Краснодаре: актуальный каталог, цены, фото, описание. Купите пластина фиксации поворота мотора 2-х тактного плм mercury 90 серийный номер от 0a996142 до 0b240450 в кредит – оформите заявку онлайн за 1 минуту!

Оригинальные запчасти

Артикул НАИМЕНОВАНИЕ Кол-во деталей в узле Примечание Наличие Цена Аналоги Фото
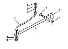
1 52148A7 CO-PILOT REPLACEMENT

Под заказ

1

Под заказ

уточнить

Купить
2 52148 PILOT ROD

Под заказ

1

Под заказ

уточнить

Купить
3 52155A1 NUT ASSEMBLY

Под заказ

1

Под заказ

уточнить

Купить
4 36154 SCREW, ADAPTOR TO BOTTOM COWL(1-3/8")

Под заказ

1

Под заказ

уточнить

Купить
5 52152 WING NUT

Под заказ

1

Под заказ

уточнить

Купить
6 873491 Тяга (ROD-LINK)

Под заказ

1

Под заказ

уточнить

Купить
7 521512 BUSHING

Под заказ

1

Под заказ

уточнить

Купить
8 20722 Пластины классич. 10шт

Под заказ

1

Под заказ

уточнить

Купить
9 826709111 NUT, (.312-24)

Под заказ

1

Под заказ

уточнить

Купить

Нулевая цена не означает отсутствие товара. Оформите заказ, и менеджер сообщит вам цену и наличие товара, предварительно запросив их у поставщика

Главная Магазины
Корзина0
Профиль